Tipologia Pannelli

Lavorazioni Pannelli

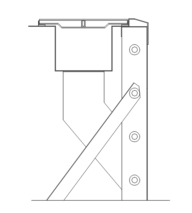
I pannelli sono realizzati tramite lavorazione a freddo sulla lamiera piana in acciaio zincato Z275. Le principali lavorazioni eseguite sono: tranciatura, punzonatura e piegatura sullo spessore 20/10. I pannelli sono preforati in modo da garantire l’accoppiamento tramite bullonatura, realizzando delle vere e proprie flange nelle sagomature laterali di ogni pannello; in corrispondenza di ogni flangia è posto un contrafforte reggispinta realizzato in lamiera presso piegata da 2 mm. In ogni angolo esterno viene posto un angolare realizzato in lamiera zincata da 2 mm, che va ad unire i due pannelli creando rigidezza (dim. 0,50x0,50x H 1200, 1300, 1400, 1500 ).
I nostri pannelli sono prodotti in acciaio 20/10 tipo DX51D (secondo norma UNI EN 10346:2009) con zincatura a caldo certificata esclusivamente per gli operatori del settore piscine, per impianti pubblici e privati.

Vantaggi del Pannello in Acciaio

-Planarità degli elementi, presentata da superfici lisce e senza avvallamenti che vengono forniti con la predisposizione, tramite pre-foratura di tutti gli accessori.
-Qualsiasi forma desiderata, adatto sia per il sistema “skimmer” che il sistema “a bordo sfioro”, questo permette la massima libertà di progettazione e di installazione;
-Velocità di installazione, tutti gli elementi vengono assemblati direttamente in loco in tempi rapidi e senza l’utilizzo di macchinari ingombranti.

Vantaggi del Pannello Biplastificato

-Planarità degli elementi, presentata da superfici lisce e senza avvallamenti che vengono forniti con la predisposizione, tramite pre-foratura di tutti gli accessori.
-Qualsiasi forma desiderata, adatto sia per il sistema “skimmer” che il sistema “a bordo sfioro”, questo permette la massima libertà di progettazione e di installazione;
-Velocità di installazione, tutti gli elementi vengono assemblati direttamente in loco in tempi rapidi e senza l’utilizzo di macchinari ingombranti.
-Maggiore Protezione, dovuta alla pellicola protettiva applicata su entrambe le facciate del pannello.

Caratteristiche Tecniche dei Pannelli

Altezze disponibili: 1200 - 1300 - 1400 – 1500 mm
spessore: 2 mm
lunghezza: 1000 mm/1250 mm
rinforzi: Pann. H 1200 mm - nessun rinforzo
Fino al < 1,10

Info tecniche bordo sfioratore: spessore: 1,5 mm
lunghezza max: 2500 mm
plastificazione: interna/esterna (da rivestire con membrana in PVC)

Info tecniche Contrafforti: spessore: 2 mm
contrafforti: zincati
piastra di fissaggio contrafforte: zincata
fissaggio piastra: - n. 2 tasselli zincati M12x120